HOME | PRODOTTI | TERMOMETRI | POZZETTI | P3
Accessori
Contatti elettrici
Manometri
Manometri a capsula
Manometri a membrana
Manometri assoluti
Manometri di controllo
Manometri differenziali
Pressostati
Separatori di fluido
Strumentazione elettronica
Termometri
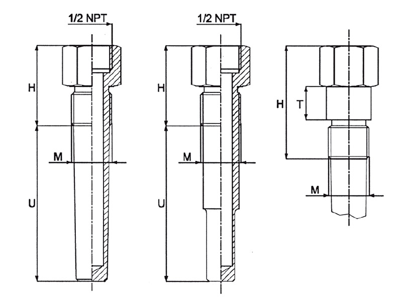
Pozzetti termometrici