HOME | PRODOTTI | MANOMETRI A MEMBRANA | SERIE MP | MP 320

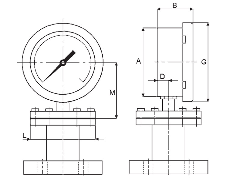
• Diametri nominali
- 100 e 150.
• Modelli
- MP 319/320/321: campi di misura compresi fra 0,6 e 25 bar;
- MP 419/420/421: campi di misura compresi fra 16 e 400 mbar.
• Custodia
- cassa e anello di acciaio inox AISI 304 (AISI 316 su richiesta - variante V61) con serraggio a baionetta.
• Grado di protezione della custodia (secondo EN 60529)
- IP 55 per l’esecuzione a secco;
- IP 67 (variante V66 e V72).
• Trasparente
- di vetro per gli strumenti a secco;
- di metacrilato per gli strumenti a riempimento;
- di vetro stratificato (su richiesta - variante V17).
• Dispositivo di sicurezza
- tappo di gomma a tenuta stagna.
• Attacco di pressione (secondo EN 837-3)
o filettatura G 1/2 B (1/2 Gas o BSP) o 1/2-14 NPT EXT (1/2 NPT) (MP 319/419);
o flangia secondo norme EN e ASME (vedere tabelle MP 1 e 2 a pagina MP03):
- flangia con fori passanti (MP 320/420);
- flangia con fori filettati ciechi o passanti (MP 321/421).
• Materiale dell’attacco di pressione
- di acciaio inox AISI 316L di serie;
- di acciaio inox AISI 316L rivestito di P.T.F.E.;
- di materiali speciali (vedere voce specifica).
• Elemento sensibile
- membrana di acciaio inox AISI 316Ti;
- membrana rivestita (vedere voce specifica) .
• Movimento
- di acciaio inox.
• Campi di scala (secondo EN 837-3)
o Campi di numerazione:
- manometri: 0 ÷ 16; 0 ÷ 25; 0 ÷ 40; 0 ÷ 60; 0 ÷ 100; 0 ÷ 160; 0 ÷ 250; 0 ÷ 400 (unità di pressione mbar); 0 ÷ 0,6; 0 ÷ 1; 0 ÷ 1,6; 0 ÷ 2,5; 0 ÷ 4; 0 ÷ 6; 0 ÷ 10; 0 ÷ 16; 0 ÷ 25 (unità di pressione bar);
- vuotometri: -16 ÷ 0; -25 ÷ 0; -40 ÷ 0; -60 ÷ 0; -100 ÷ 0;
-160 ÷ 0; -250 ÷ 0; -400 ÷ 0 (unità di vuoto mbar);
-1 ÷ 0 (unità di vuoto bar);
- manovuotometri: -1 ÷ 0,6; -1 ÷ 1,5; -1 ÷ 3; -1 ÷ 5;
-1 ÷ 9; -1 ÷ 15; -1 ÷ 24 (unità di pressione bar)
- su richiesta (unità di pressione mbar). (divisioni secondo tabella C1 a pag. P04)
- altri campi non normalizzati per singola o doppia scala (su richiesta).
o Unità di pressione:
- mbar, bar, kPa, kg/cm² e psi per singola o doppia scala.
o Angolo della scala:
- 270 °.
• Pressione di esercizio (riferita al valore di fondo scala)
- costante da 1/10 a 3/4 circa;
- variabile da 1/10 a 2/3 circa.
• Sovrappressione (riferita al valore di fondo scala)
- 115% di serie (occasionalmente ammessa);
- speciale solo su richiesta - variante V28.
• Indice
- di alluminio a regolazione micrometrica per l’esecuzione a secco;
- di alluminio con virola fissa per l’esecuzione a riempimento di liquido.
• Quadrante
- di alluminio con scale graduate e scritte in nero indelebile su fondo bianco (per eventuali modifiche vedere le varianti previste).
• Precisione (secondo EN 837-3)
- classe 1,6 (± 1,6% riferito al valore di fondo scala).
nota: in caso di strumento con contatto elettrico, la precisione indicata sul quadrante non considera l’influenza del dispositivo.
• Temperatura ambiente
- -20 ÷ +60 °C.
• Deriva termica
al di fuori dei valori di temperatura ambiente ottimale compresi fra +15 ÷ +25 °C, la deriva termica influisce sulla precisione dello strumento nell’ordine di:
- 0,4% ogni 10 °C per i modelli MP 319/320/321;
- 0,8% ogni 10 °C per i modelli MP 419/420/421.
• Temperatura di utilizzo
- -20 ÷ +100 °C esecuzione standard;
- -20 ÷ +150 °C esecuzione con guarnizioni speciali (esclusi i manovuotometri) (variante V74);
- -20 ÷ +100 °C esecuzione rivestita di P.T.F.E.
Manometri a membrana